 |
 |
|
 |
 |
南通佳德绿冶金设备制造有限公司
地 址:启东市惠和镇曙升村工业园
邮 箱:2650702013@qq.com
电 话:0513-83348100
0513-83731598
传 真:0513-83257800
手 机:13101996400
13862998500 |
|
 |
|
| |
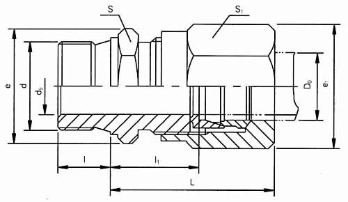
卡套式端对接直通管接头(25MPa、40MPa) |
| 本标准规定了卡套式端对接直通管接头,适用于油、气及一般腐蚀性介质的管路系统。 |
|
标记示例:
公称压力J级,管子外径D0为14mm的卡套式端对接直通管接头:
管接头J14 GB/T3754.1-1983 |
| |
管子外径D0 |
公称通径DN |
d5 |
d |
l |
l1≈ |
L≈ |
扳手尺寸 |
e |
e1 |
重 量(kg/100件) |
S |
S1 |
G(25) |
4 |
3 |
M10×1 |
|
16 |
31 |
15 |
15 |
17.3 |
17.3 |
3.08 |
5 |
3.5 |
6 |
4 |
18.7 |
36 |
16 |
18.5 |
4.15 |
8 |
6 |
M12×1.5 |
12 |
22 |
40 |
16 |
18 |
18.5 |
20.8 |
6.23 |
10 |
8 |
M14×1.5 |
23 |
43 |
18 |
21 |
20.8 |
24.2 |
8.02 |
12 |
10 |
M16×1.5 |
24 |
44 |
21 |
24 |
24.2 |
27.7 |
10.6 |
14 |
12 |
M18×1.5 |
24 |
27.7 |
12.1 |
16 |
14 |
M22×1.5 |
14 |
25 |
46 |
27 |
27 |
31.2 |
31.2 |
16.2 |
18 |
15 |
25.5 |
30 |
34.6 |
18.9 |
20 |
17 |
M27×2 |
16 |
27 |
50 |
34 |
34 |
39.3 |
39.3 |
26.5 |
22 |
19 |
31.5 |
55 |
36 |
41.6 |
30.8 |
25 |
22 |
M33×2 |
18 |
33.5 |
59 |
41 |
41 |
47.3 |
47.3 |
44.1 |
28 |
24 |
34.5 |
61 |
47.5 |
32 |
27 |
M42×2 |
20 |
36.5 |
64 |
50 |
50 |
57.7 |
57.7 |
47.9 |
34 |
30 |
65 |
68.3 |
40 |
34 |
M50×2 |
22 |
37.5 |
66 |
60 |
55 |
69.3 |
63.5 |
90.1 |
42 |
36 |
60 |
69.3 |
101 |
J(40) |
6 |
3 |
M12×1.5/G1/8″ |
12 |
23 |
41 |
16 |
18 |
18.5 |
20.8 |
7.27 |
8 |
5 |
M14×1.5/G1/4″ |
24 |
43 |
18 |
21 |
20.8 |
24.2 |
9.06 |
10 |
7 |
M16×1.5/G3/8″ |
25.5 |
46 |
21 |
24 |
24.2 |
27.7 |
12.3 |
12 |
8 |
M80×1.5/G(1/2″) |
26.5 |
47 |
24 |
27.7 |
15 |
14 |
10 |
14 |
27 |
48 |
27 |
27 |
31.2 |
31.2 |
18.3 |
16 |
12 |
M22×1.5 |
28 |
50 |
30 |
34.6 |
22.7 |
18 |
14 |
29.5 |
53 |
30 |
34 |
34.6 |
39.3 |
25.5 |
20 |
16 |
M27×2 |
16 |
34.5 |
62 |
34 |
36 |
39.3 |
41.6 |
36.6 |
22 |
18 |
35.5 |
64 |
36 |
41 |
41.6 |
47.3 |
45.7 |
25 |
20 |
M33×2 |
18 |
38 |
67 |
41 |
47.3 |
54.2 |
28 |
22 |
39.5 |
69 |
46 |
53.1 |
63.4 |
|
| |
| |
| |
| |
| |
| |
| |
|
|
|
|