| 一、概述 |
适用于以油、水、气为介质的管道固定用塑料管夹。工作温度为-5~+100℃。
A 系列管夹适用于中压、低压(PN≤8MPa)管道的固定;B系列管夹及B系列Ⅰ型组合安装管夹适用于中高压、高压(PN≤31.5MPa)管道的固定。 |
 |
|
| 二、外形尺寸 |
| 1.1 A系列管夹的型式和尺寸见图1和表1。 |
|
| 表1 |
型式 |
管子
外径
Do |
A |
A1 |
C |
H |
H1 |
h |
螺栓 |
重量
kg≈ |
型式 |
管子
外径
Do |
A |
A1 |
C |
H |
H1 |
h |
螺栓 |
重量
kg≈ |
d |
L |
d |
L |
I |
6 |
28 |
33 |
- |
32 |
19 |
6 |
M6 |
20 |
0.06 |
II |
20 |
48 |
53 |
33 |
42 |
24 |
6 |
M6 |
30 |
0.14 |
8 |
22 |
10 |
25 |
12 |
28 |
70 |
75 |
52 |
64 |
35 |
50 |
0.19 |
II |
6 |
34 |
39 |
20 |
0.08 |
30 |
8 |
32 |
10 |
34 |
12 |
40 |
14 |
40 |
45 |
26 |
40 |
23 |
25 |
0.12 |
42 |
16 |
48 |
86 |
91 |
66 |
72 |
39 |
60 |
0.22 |
18 |
50 |
| 注:静压油腊润滑管路,压力至10MPa,仍可选用A系列管夹。 |
|
| 1.2 B 型管夹的型式和尺寸见图2 和表2 |
|
| 表2 |
型式 |
管子
外径
Do |
A |
A1 |
B |
B1 |
C |
H1 |
H2 |
h |
s |
螺纹 |
重量
kg≈ |
d |
L |
I型 |
II型 |
I、
II |
10、12 |
55 |
73 |
30 |
60 |
33 |
48 |
24 |
8 |
2 |
M10 |
45 |
0.3 |
0.6 |
14、16 |
18、20、22 |
70 |
85 |
45 |
64 |
32 |
60 |
0.4 |
0.8 |
25、28 |
30、32、34 |
84 |
100 |
60 |
76 |
38 |
70 |
0.5 |
1.0 |
40、42 |
48、50、57 |
115 |
150 |
45 |
90 |
90 |
110 |
55 |
10 |
3 |
M12 |
100 |
1.8 |
3.6 |
60、63.5 |
76、89 |
152 |
200 |
60 |
120 |
122 |
140 |
70 |
3.5 |
M16 |
130 |
2.5 |
5.0 |
102、108 |
205 |
270 |
80 |
160 |
168 |
200 |
100 |
15 |
4.5 |
M20 |
190 |
5.5 |
11 |
114、127 |
138、140 |
250 |
310 |
90 |
180 |
205 |
230 |
115 |
M24 |
220 |
8 |
16 |
159、168 |
|
注:当管路介质压力较高时,可选用B系列I型和II型,但需缩小相邻管夹间距。 |
|
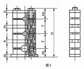
1.2.1 B 型系列Ⅰ型组合安装夹的型式和尺寸见图3 和表3。
a)同一外形尺寸的B 型系列Ⅰ型管夹,可叠垒成组成安装,但最多不超过5 根管子。 |
|
表3 mm |
管子外径
Do |
10 |
12 |
14 |
16 |
18 |
20 |
22 |
25 |
28 |
32 |
34 |
40 |
42 |
48 |
50 |
57 |
60 |
63.5 |
76 |
89 |
102 |
108 |
114 |
127 |
133 |
140 |
159 |
168 |
H3 |
31 |
39 |
45 |
63 |
80 |
113 |
130 |
T |
40 |
56 |
68 |
100 |
130 |
185 |
215 |
|
b)尺寸计算 H=H2+H3+(N-1)·T
式中:N ——管子根数:
T ——相邻管距(见表3),mm;
H2、H3见表2和表3
◎注:组合安装管夹的每组重量可近似按(N-0.5)乘以表2中的单件重量。
2.1 标记说明
A 系列Ⅰ型、管子外径为12mm的塑料管夹:
塑料管夹A(Ⅰ)12 JB/ZQ4008-97
B 系列Ⅱ型、管子外径为28mm 的塑料管夹;
塑料管夹B(Ⅱ)28 JB/ZQ4008-97
B 系列Ⅰ型组合叠装、管子外径为22mm的3根、管子外径为28mm的2根的塑料管夹;
塑料管夹B(Ⅰ)22×3-28×2JB/ZQ4008-97
三、管夹承载能力
(A1,A2 及图A1,图A2)
A1 表示方法:管夹承受管子轴向力的能力大小,用曲线图表示。
A2 具体内容:图A1 用于“A 系列管夹”;图A2 用于“B 系列Ⅰ型管夹”。a 曲线表示管夹与管子处于“静摩擦状态”时,管子外径尺寸与管夹承受管子轴向力的函数关系。b曲线表示管夹与管子处于“动摩擦状态”时,管子外径尺寸与管夹承受管子轴向力及转矩的函数关系。 |
|
四、安装说明(B1~B3)
B1 管夹底板采用焊接法固定在焊接板、钢梁、轨道上。应注意焊接板、钢梁、轨道的固定必须牢靠,其所受负荷要保持在允许范围内(参考图A1、A2)
B2 安装时,相邻管夹的间距,应保持在1-3m 的距离。
B3 管路安装时,在弯管处其弧形部分之后,就应安装管夹。(见图B1)。 |
 |
|