广州浦友品茶论坛,武汉品茶狼盟桑拿网论坛,禅城bt桑拿论坛

设为首页 加入收藏 联系我们
  | 首 页 | 公司简介 | 产品集锦 |  产品目录 | 联系方法 | 网上订单  

美化天线外罩
美化机房
干油润滑部分
稀油润滑部分
管 件 部 分
油气润滑部分
电气控制部分

南通佳德绿冶金设备制造有限公司
地 址:启东市惠和镇曙升村工业园
邮 箱:2650702013@qq.com
电 话:0513-83348100
    0513-83731598
传 真:0513-83257800
手 机:13101996400
    13862998500
 
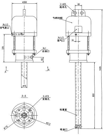
AP-840B型气动补脂泵(20MPa)

一、应用范围
适用于大型干油集中润滑系统中,作为向众多润滑泵站贮油器内采用集中充脂装置的供油设置。该泵输出压力高、流量大,扩大了集中充填补脂的范围,也大大缩短了补脂所需用的时间。

二、技术参数

型号
公称压力MPa
给油量mL/循环
进气压力Mpa
压力比
重量kg
AP-840B
20
150
0.5-0.7
40:1
42

适用介质为针入度265~385(25℃,150g)1/10mm的润滑脂(NLGI0#~2#),和粘度等级大于N68的润滑油;适用环境温度-20℃~80℃。

   

三、使用要领
1、以托架(用户自备)作支承,用四只M16的螺栓把气动泵固定在托架上,柱塞泵管垂直插入贮油箱的油脂中。
2、进气管路上必须配接气源处理处理三大件(过滤、减压、油雾器),目的是使气动泵能获得洁将、稳压、带油雾状的压缩空气。
3、所使用的介质必须在规定范围内。
4、气动泵出油口处必须配接单向阀。
5、建议供气量调定在泵工作频率不超过20次/min为宜。
6、使用2#油脂时建议油箱内加设压油盘,以免因润滑脂流动性差而使泵产生吸空。
7、排气口配接消声器(用户自备,接口Rc1/2)。

四、订货说明
根据用户使用工况特殊需要,还可进行缩短或加长泵管长度以及吸油口采用法兰连接的非标设计供货,订货时另行注明。


五、外形尺寸


  
| 首 页 | 公司简介 | 产品集锦 | 产品目录 | 联系方法 | 网上订单 | 电子邮局 |
 
Copyright © 2011 南通佳德绿冶金设备制造有限公司 地址:江苏启东市惠和镇曙升村工业园
电话:0513-83348100 83731598 传真:0513-83257800 网址:m.22z3u.cn E-mail:2650702013@qq.com
主站蜘蛛池模板: 焦作市| 平度市| 汤阴县| 宽城| 连平县| 长治市| 酒泉市| 上林县| 赫章县| 海林市| 正镶白旗| 仁化县| 佳木斯市| 建平县| 石城县| 邵东县| 彭山县| 开江县| 上虞市| 阿克陶县| 噶尔县| 丰原市| 绥化市| 仁化县| 贺州市| 时尚| 屯留县| 大洼县| 天气| 宝鸡市| 沙雅县| 定襄县| 南溪县| 克山县| 澄城县| 离岛区| 常州市| 宜黄县| 普洱| 长治县| 阳泉市|